返回主站
|
收藏本站
|
联系我们
首页
机构设置
部门简介
工作职责
机构人员
发展规划
综合改革
规划编制
目标管理考核
政策研究
学科建设
一流学科
重点学科
学科评估
对外联络
校地合作
校际合作
校企合作
驻村帮扶
他山之石
下载专区
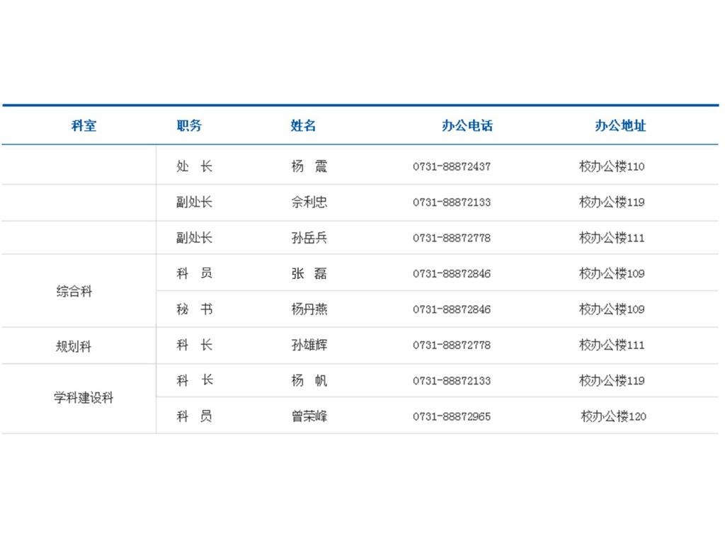
机构人员
部门简介
工作职责
机构人员
机构人员
您所在的位置:
首页
>>
机构设置
>>
机构人员
CopyRight @ 2013 技术支持:长笛龙吟信息科技
电话:073188872846 邮箱:fzghc@hunnu.edu.cn 地址:长沙市麓山路36号 邮政编码:410081